Polaris
Browse New Models
Shop In-Stock
Suzuki
Browse New Models
Shop In-Stock
Search Inventory
Exit Search
Search Inventory
7202 Lee Hwy
|
Radford, VA
24141
Toggle navigation
Home
Brands
Inventory
All Inventory In Stock
New Inventory In Stock
Polaris Off-Road Vehicles
New Polaris
New Suzuki
Used Inventory
Manufacturer Models
OEM Promotions
Value Your Trade-In
Request a Model
Secure Financing
Parts
Parts Department
Parts Finder
Shopping Cart
Service
Request Polaris Service
Service Department
Warranty & Recall Look-Up
Financing
About
Our Dealership
Employment
Reviews
Customer Survey
Newsletter Sign-Up
Events Calendar
Location & Hours
Contact
540-633-0004
Fiche | Parts Diagrams
series-11 Polaris Utility Vehicles
Home
›
Parts
›
Parts Finder
Search by :
Part / Desc
VIN
Please Select
Polaris
Suzuki
*Please enter at least 3 characters
SEARCH
Manufacturer
Polaris
Utility Vehicles
SERIES 11
UTV 1500 2X4 (C11RB63AA/AB)
VIEW WISH LIST
Select a Section
Show/Hide
A-ARM/STRUT MOUNTING - C11RB63AA/AB (4985628562B06)
BOX LATCH - C11RB63AA/AB (4985628562A08)
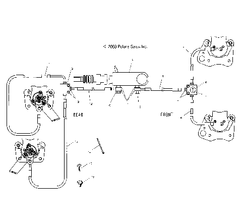
BRAKE LINES/MASTER CYLINDER - C11RB63AA/AB (4985628562B09)
CARBURETOR - C11RB63AA/AB (4985628562D01)
CHASSIS/BODY - C11RB63AA/AB (4985628562A04)
COOLING - C11RB63AA/AB (4985628562C13)
CRANKCASE - C11RB63AA/AB (4985628562C09)
CRANKSHAFT and PISTON - C11RB63AA/AB (4985628562C08)
DASH INSTRUMENTS and CONTROLS - C11RB63AA/AB (4985628562A06)
DECALS - C11RB63AA/AB (4985628562A10)
DRIVE CLUTCH - C11RB63AA/AB (4985628562C02)
DRIVEN CLUTCH - C11RB63AA/AB (4985628562C03)
DUMP BOX - C11RB63AA/AB (4985628562A09)
ELECTRIC DEVICE - C11RB63AA/AB (4985628562D02)
ELECTRICAL/BATTERY - C11RB63AA/AB (4985628562B01)
ENGINE MOUNTING - C11RB63AA/AB (4985628562A12)
EXHAUST SYSTEM - C11RB63AA/AB (4985628562A13)
FOOT BRAKE - C11RB63AA/AB (4985628562B08)
FRONT BRAKE CALIPER - C11RB63AA/AB (4985628562B10)
FRONT STRUT - C11RB63AA/AB (4985628562B03)
FRONT WHEEL - C11RB63AA/AB (4985628562B04)
FUEL PUMP - C11RB63AA/AB (4985628562D04)
FUEL SYSTEM - C11RB63AA/AB (4985628562A11)
GEAR SELECTOR/DIFFERENTIAL LOCK - C11RB63AA/AB (4985628562C07)
GEARCASE - C11RB63AA/AB (4985628562C05)
GOVERNOR - C11RB63AA/AB (4985628562C12)
HOOD - C11RB63AA/AB (4985628562A07)
INTAKE and EXHAUST - C11RB63AA/AB (4985628562C11)
MOLDINGS - C11RB63AA/AB (4985628562A05)
OIL PUMP - C11RB63AA/AB (4985628562C14)
PARK BRAKE LOCK - C11RB63AA/AB (4985628562B11)
REAR BRAKE CALIPERS - C11RB63AA/AB (4985628562B12)
REAR GEARCASE - C11RB63AA/AB (4985628562C04)
REAR PROP SHAFT - C11RB63AA/AB (4985628562B02)
REAR SHOCK - C11RB63AA/AB (4985628562C01)
REAR WHEEL DRIVE - C11RB63AA/AB (4985628562B13)
SEAT - C11RB63AA/AB (4985628562A03)
STARTING MOTOR - C11RB63AA/AB (4985628562D03)
STEERING - C11RB63AA/AB (4985628562B05)
SWING ARM - C11RB63AA/AB (4985628562B14)
THROTTLE - C11RB63AA/AB (4985628562B07)
TOOL KIT - C11RB63AA/AB (4985628562D05)
TRANSMISSION MOUNTING - C11RB63AA/AB (4985628562A14)
A-ARM/STRUT MOUNTING - C11RB63AA/AB (4985628562B06)
BOX LATCH - C11RB63AA/AB (4985628562A08)
BRAKE LINES/MASTER CYLINDER - C11RB63AA/AB (4985628562B09)
CARBURETOR - C11RB63AA/AB (4985628562D01)
CHASSIS/BODY - C11RB63AA/AB (4985628562A04)
COOLING - C11RB63AA/AB (4985628562C13)
CRANKCASE - C11RB63AA/AB (4985628562C09)
CRANKSHAFT and PISTON - C11RB63AA/AB (4985628562C08)
DASH INSTRUMENTS and CONTROLS - C11RB63AA/AB (4985628562A06)
DECALS - C11RB63AA/AB (4985628562A10)
DRIVE CLUTCH - C11RB63AA/AB (4985628562C02)
DRIVEN CLUTCH - C11RB63AA/AB (4985628562C03)
DUMP BOX - C11RB63AA/AB (4985628562A09)
ELECTRIC DEVICE - C11RB63AA/AB (4985628562D02)
ELECTRICAL/BATTERY - C11RB63AA/AB (4985628562B01)
ENGINE MOUNTING - C11RB63AA/AB (4985628562A12)
EXHAUST SYSTEM - C11RB63AA/AB (4985628562A13)
FOOT BRAKE - C11RB63AA/AB (4985628562B08)
FRONT BRAKE CALIPER - C11RB63AA/AB (4985628562B10)
FRONT STRUT - C11RB63AA/AB (4985628562B03)
FRONT WHEEL - C11RB63AA/AB (4985628562B04)
FUEL PUMP - C11RB63AA/AB (4985628562D04)
FUEL SYSTEM - C11RB63AA/AB (4985628562A11)
GEAR SELECTOR/DIFFERENTIAL LOCK - C11RB63AA/AB (4985628562C07)
GEARCASE - C11RB63AA/AB (4985628562C05)
GOVERNOR - C11RB63AA/AB (4985628562C12)
HOOD - C11RB63AA/AB (4985628562A07)
INTAKE and EXHAUST - C11RB63AA/AB (4985628562C11)
MOLDINGS - C11RB63AA/AB (4985628562A05)
OIL PUMP - C11RB63AA/AB (4985628562C14)
PARK BRAKE LOCK - C11RB63AA/AB (4985628562B11)
REAR BRAKE CALIPERS - C11RB63AA/AB (4985628562B12)
REAR GEARCASE - C11RB63AA/AB (4985628562C04)
REAR PROP SHAFT - C11RB63AA/AB (4985628562B02)
REAR SHOCK - C11RB63AA/AB (4985628562C01)
REAR WHEEL DRIVE - C11RB63AA/AB (4985628562B13)
SEAT - C11RB63AA/AB (4985628562A03)
STARTING MOTOR - C11RB63AA/AB (4985628562D03)
STEERING - C11RB63AA/AB (4985628562B05)
SWING ARM - C11RB63AA/AB (4985628562B14)
THROTTLE - C11RB63AA/AB (4985628562B07)
TOOL KIT - C11RB63AA/AB (4985628562D05)
TRANSMISSION MOUNTING - C11RB63AA/AB (4985628562A14)
VIEW WISH LIST