Polaris
Browse New Models
Shop In-Stock
Suzuki
Browse New Models
Shop In-Stock
Search Inventory
Exit Search
Search Inventory
7202 Lee Hwy
|
Radford, VA
24141
Toggle navigation
Home
Brands
Inventory
All Inventory In Stock
New Inventory In Stock
Polaris Off-Road Vehicles
New Polaris
New Suzuki
Used Inventory
Manufacturer Models
OEM Promotions
Value Your Trade-In
Request a Model
Secure Financing
Parts
Parts Department
Parts Finder
Shopping Cart
Service
Request Polaris Service
Service Department
Warranty & Recall Look-Up
Financing
About
Our Dealership
Employment
Reviews
Customer Survey
Newsletter Sign-Up
Events Calendar
Location & Hours
Contact
540-633-0004
Fiche | Parts Diagrams
2017 Suzuki Motorcycles
Home
›
Parts
›
Parts Finder
Search by :
Part / Desc
VIN
Please Select
Polaris
Suzuki
*Please enter at least 3 characters
SEARCH
Manufacturer
Suzuki
Motorcycles
2017
GSX,R1000
VIEW WISH LIST
Select a Section
Show/Hide
2ND AIR
AIR CLEANER
AIR INTAKE PIPE (GSX-R1000RL7 E03)
AIR INTAKE PIPE (GSX-R1000RL7 E28)
AIR INTAKE PIPE (GSX-R1000RL7 E33)
AIR INTAKE PIPE (GSX-R1000RZL7 E03)
AIR INTAKE PIPE (GSX-R1000RZL7 E28)
AIR INTAKE PIPE (GSX-R1000RZL7 E33)
BATTERY
BODY ELECTRICAL
CAM CHAIN
CAMSHAFT/VALVE
CLUTCH
COWLING BODY (GSX-R1000RL7 E03)
COWLING BODY (GSX-R1000RL7 E28)
COWLING BODY (GSX-R1000RL7 E33)
COWLING BODY (GSX-R1000RZL7 E03)
COWLING BODY (GSX-R1000RZL7 E28)
COWLING BODY (GSX-R1000RZL7 E33)
CRANKCASE
CRANKCASE COVER
CRANKSHAFT
CYLINDER HEAD
CYLINDER HEAD COVER
ELECTRICAL (GSX-R1000RL7 E03)
ELECTRICAL (GSX-R1000RL7 E28)
ELECTRICAL (GSX-R1000RL7 E33)
ELECTRICAL (GSX-R1000RZL7 E03)
ELECTRICAL (GSX-R1000RZL7 E28)
ELECTRICAL (GSX-R1000RZL7 E33)
EVAP SYSTEM (GSX-R1000RL7 E33)
EVAP SYSTEM (GSX-R1000RZL7 E33)
FOOTREST
FRAME
FRAME COVER (GSX-R1000RL7 E03)
FRAME COVER (GSX-R1000RL7 E28)
FRAME COVER (GSX-R1000RL7 E33)
FRAME COVER (GSX-R1000RZL7 E03)
FRAME COVER (GSX-R1000RZL7 E28)
FRAME COVER (GSX-R1000RZL7 E33)
FRONT BRAKE HOSE
FRONT CALIPER
FRONT FENDER (GSX-R1000RL7 E03)
FRONT FENDER (GSX-R1000RL7 E28)
FRONT FENDER (GSX-R1000RL7 E33)
FRONT FENDER (GSX-R1000RZL7 E03)
FRONT FENDER (GSX-R1000RZL7 E28)
FRONT FENDER (GSX-R1000RZL7 E33)
FRONT FORK DAMPER (GSX-R1000RL7 E03)
FRONT FORK DAMPER (GSX-R1000RL7 E28)
FRONT FORK DAMPER (GSX-R1000RL7 E33)
FRONT FORK DAMPER (GSX-R1000RZL7 E03)
FRONT FORK DAMPER (GSX-R1000RZL7 E28)
FRONT FORK DAMPER (GSX-R1000RZL7 E33)
FRONT MASTER CYLINDER
FRONT WHEEL (GSX-R1000RL7 E03)
FRONT WHEEL (GSX-R1000RL7 E28)
FRONT WHEEL (GSX-R1000RL7 E33)
FRONT WHEEL (GSX-R1000RZL7 E03)
FRONT WHEEL (GSX-R1000RZL7 E28)
FRONT WHEEL (GSX-R1000RZL7 E33)
FUEL PUMP
FUEL TANK (GSX-R1000RL7 E03)
FUEL TANK (GSX-R1000RL7 E28)
FUEL TANK (GSX-R1000RL7 E33)
FUEL TANK (GSX-R1000RZL7 E03)
FUEL TANK (GSX-R1000RZL7 E28)
FUEL TANK (GSX-R1000RZL7 E33)
FUEL TANK FRONT COVER (GSX-R1000RL7 E03)
FUEL TANK FRONT COVER (GSX-R1000RL7 E28)
FUEL TANK FRONT COVER (GSX-R1000RL7 E33)
FUEL TANK FRONT COVER (GSX-R1000RZL7 E03)
FUEL TANK FRONT COVER (GSX-R1000RZL7 E28)
FUEL TANK FRONT COVER (GSX-R1000RZL7 E33)
GASKET SET
GEAR SHIFTING
GENERATOR
HANDLE LEVER
HANDLE SWITCH
HANDLEBAR
HEADLAMP
HYDRAULIC UNIT
LABEL (GSX-R1000RL7 E03)
LABEL (GSX-R1000RL7 E28)
LABEL (GSX-R1000RL7 E33)
LABEL (GSX-R1000RZL7 E03)
LABEL (GSX-R1000RZL7 E28)
LABEL (GSX-R1000RZL7 E33)
LOCK SET
MUFFLER
OIL COOLER
OIL PAN/OIL PUMP
OPTIONAL
OPTIONAL (SEAT TAIL BOX)
RADIATOR
RADIATOR HOSE
REAR CALIPER
REAR COMBINATION LAMP
REAR CUSHION LEVER (GSX-R1000RL7 E03)
REAR CUSHION LEVER (GSX-R1000RL7 E28)
REAR CUSHION LEVER (GSX-R1000RL7 E33)
REAR CUSHION LEVER (GSX-R1000RZL7 E03)
REAR CUSHION LEVER (GSX-R1000RZL7 E28)
REAR CUSHION LEVER (GSX-R1000RZL7 E33)
REAR FENDER
REAR MASTER CYLINDER
REAR SWINGINGARM
REAR WHEEL (GSX-R1000RL7 E03)
REAR WHEEL (GSX-R1000RL7 E28)
REAR WHEEL (GSX-R1000RL7 E33)
REAR WHEEL (GSX-R1000RZL7 E03)
REAR WHEEL (GSX-R1000RZL7 E28)
REAR WHEEL (GSX-R1000RZL7 E33)
SEAT
SIDE COWLING (GSX-R1000RL7 E03)
SIDE COWLING (GSX-R1000RL7 E28)
SIDE COWLING (GSX-R1000RL7 E33)
SIDE COWLING (GSX-R1000RZL7 E03)
SIDE COWLING (GSX-R1000RZL7 E28)
SIDE COWLING (GSX-R1000RZL7 E33)
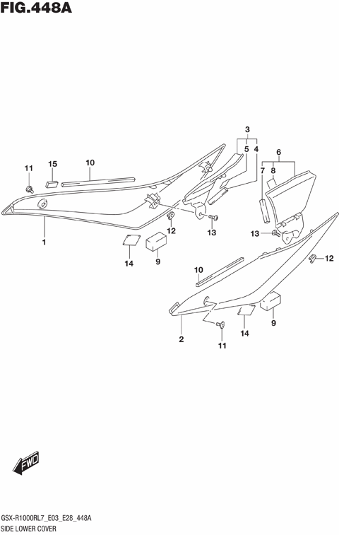
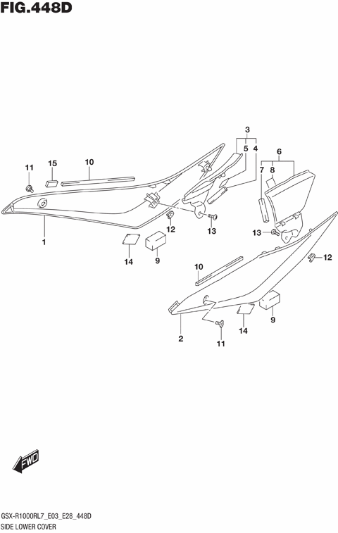
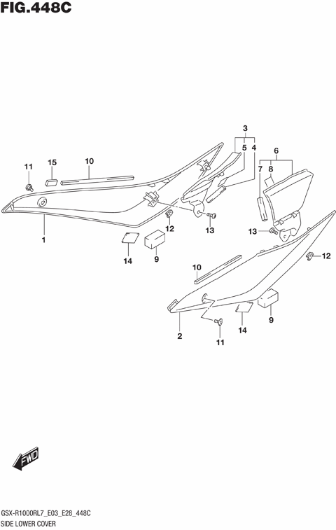
SIDE LOWER COVER (GSX-R1000RL7 E03)
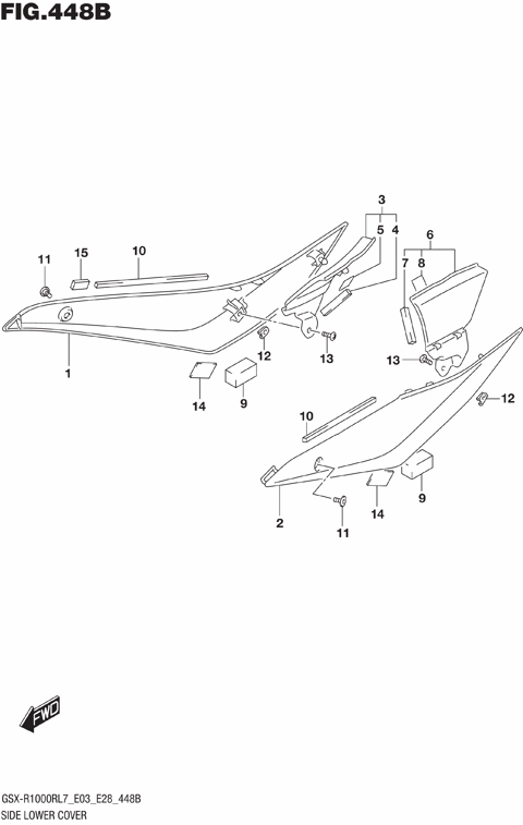
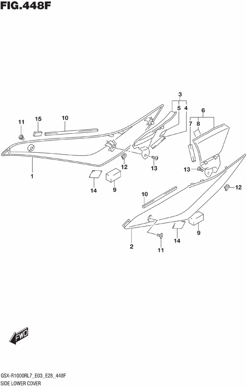
SIDE LOWER COVER (GSX-R1000RL7 E28)
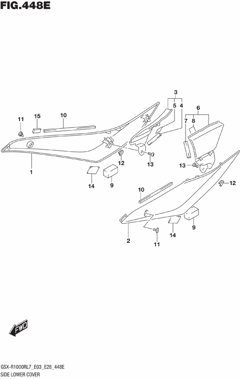
SIDE LOWER COVER (GSX-R1000RL7 E33)
SIDE LOWER COVER (GSX-R1000RZL7 E03)
SIDE LOWER COVER (GSX-R1000RZL7 E28)
SIDE LOWER COVER (GSX-R1000RZL7 E33)
SPEEDOMETER (GSX-R1000RL7 E03)
SPEEDOMETER (GSX-R1000RL7 E28)
SPEEDOMETER (GSX-R1000RL7 E33)
SPEEDOMETER (GSX-R1000RZL7 E03)
SPEEDOMETER (GSX-R1000RZL7 E28)
SPEEDOMETER (GSX-R1000RZL7 E33)
STAND
STARTER CLUTCH
STARTING MOTOR
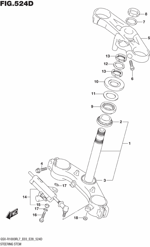
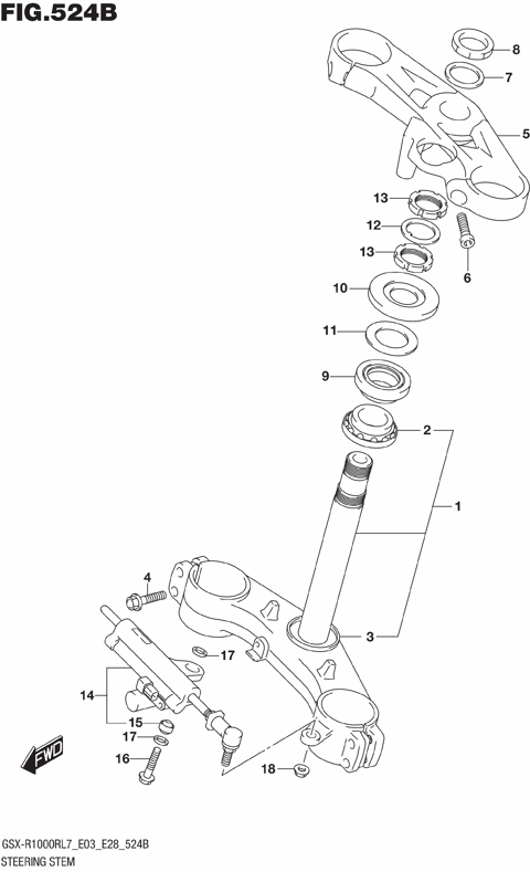
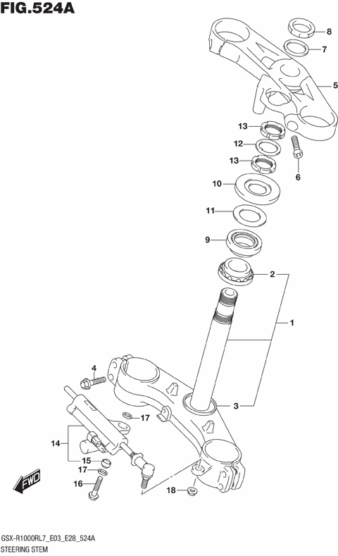
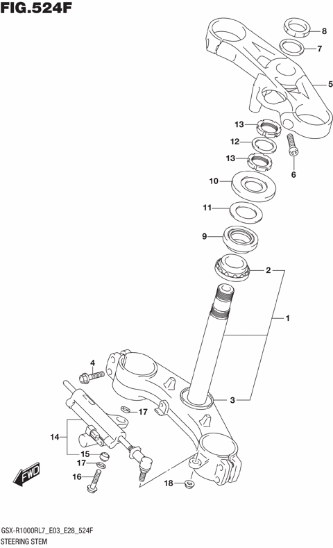
STEERING STEM (GSX-R1000RL7 E03)
STEERING STEM (GSX-R1000RL7 E28)
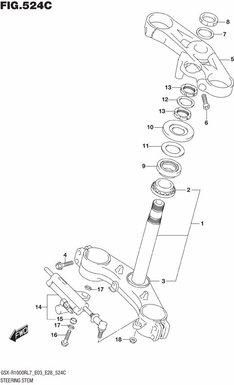
STEERING STEM (GSX-R1000RL7 E33)
STEERING STEM (GSX-R1000RZL7 E03)
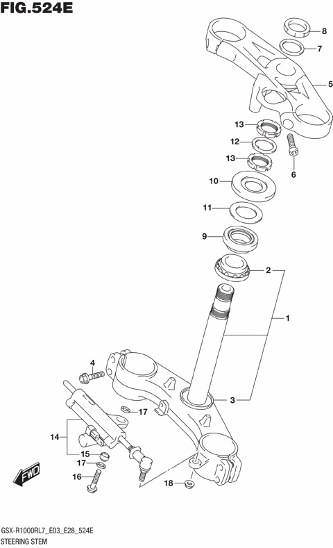
STEERING STEM (GSX-R1000RZL7 E28)
STEERING STEM (GSX-R1000RZL7 E33)
THROTTLE BODY (GSX-R1000RL7 E03)
THROTTLE BODY (GSX-R1000RL7 E28)
THROTTLE BODY (GSX-R1000RL7 E33)
THROTTLE BODY (GSX-R1000RZL7 E03)
THROTTLE BODY (GSX-R1000RZL7 E28)
THROTTLE BODY (GSX-R1000RZL7 E33)
TRANSMISSION
TURNSIGNAL LAMP
UNDER COWLING (GSX-R1000RL7 E03)
UNDER COWLING (GSX-R1000RL7 E28)
UNDER COWLING (GSX-R1000RL7 E33)
UNDER COWLING (GSX-R1000RZL7 E03)
UNDER COWLING (GSX-R1000RZL7 E28)
UNDER COWLING (GSX-R1000RZL7 E33)
WATER PUMP
WIRING HARNESS (GSX-R1000RL7 E03)
WIRING HARNESS (GSX-R1000RL7 E28)
WIRING HARNESS (GSX-R1000RL7 E33)
WIRING HARNESS (GSX-R1000RZL7 E03)
WIRING HARNESS (GSX-R1000RZL7 E28)
WIRING HARNESS (GSX-R1000RZL7 E33)
2ND AIR
AIR CLEANER
AIR INTAKE PIPE (GSX-R1000RL7 E03)
AIR INTAKE PIPE (GSX-R1000RL7 E28)
AIR INTAKE PIPE (GSX-R1000RL7 E33)
AIR INTAKE PIPE (GSX-R1000RZL7 E03)
AIR INTAKE PIPE (GSX-R1000RZL7 E28)
AIR INTAKE PIPE (GSX-R1000RZL7 E33)
BATTERY
BODY ELECTRICAL
CAM CHAIN
CAMSHAFT/VALVE
CLUTCH
COWLING BODY (GSX-R1000RL7 E03)
COWLING BODY (GSX-R1000RL7 E28)
COWLING BODY (GSX-R1000RL7 E33)
COWLING BODY (GSX-R1000RZL7 E03)
COWLING BODY (GSX-R1000RZL7 E28)
COWLING BODY (GSX-R1000RZL7 E33)
CRANKCASE
CRANKCASE COVER
CRANKSHAFT
CYLINDER HEAD
CYLINDER HEAD COVER
ELECTRICAL (GSX-R1000RL7 E03)
ELECTRICAL (GSX-R1000RL7 E28)
ELECTRICAL (GSX-R1000RL7 E33)
ELECTRICAL (GSX-R1000RZL7 E03)
ELECTRICAL (GSX-R1000RZL7 E28)
ELECTRICAL (GSX-R1000RZL7 E33)
EVAP SYSTEM (GSX-R1000RL7 E33)
EVAP SYSTEM (GSX-R1000RZL7 E33)
FOOTREST
FRAME
FRAME COVER (GSX-R1000RL7 E03)
FRAME COVER (GSX-R1000RL7 E28)
FRAME COVER (GSX-R1000RL7 E33)
FRAME COVER (GSX-R1000RZL7 E03)
FRAME COVER (GSX-R1000RZL7 E28)
FRAME COVER (GSX-R1000RZL7 E33)
FRONT BRAKE HOSE
FRONT CALIPER
FRONT FENDER (GSX-R1000RL7 E03)
FRONT FENDER (GSX-R1000RL7 E28)
FRONT FENDER (GSX-R1000RL7 E33)
FRONT FENDER (GSX-R1000RZL7 E03)
FRONT FENDER (GSX-R1000RZL7 E28)
FRONT FENDER (GSX-R1000RZL7 E33)
FRONT FORK DAMPER (GSX-R1000RL7 E03)
FRONT FORK DAMPER (GSX-R1000RL7 E28)
FRONT FORK DAMPER (GSX-R1000RL7 E33)
FRONT FORK DAMPER (GSX-R1000RZL7 E03)
FRONT FORK DAMPER (GSX-R1000RZL7 E28)
FRONT FORK DAMPER (GSX-R1000RZL7 E33)
FRONT MASTER CYLINDER
FRONT WHEEL (GSX-R1000RL7 E03)
FRONT WHEEL (GSX-R1000RL7 E28)
FRONT WHEEL (GSX-R1000RL7 E33)
FRONT WHEEL (GSX-R1000RZL7 E03)
FRONT WHEEL (GSX-R1000RZL7 E28)
FRONT WHEEL (GSX-R1000RZL7 E33)
FUEL PUMP
FUEL TANK (GSX-R1000RL7 E03)
FUEL TANK (GSX-R1000RL7 E28)
FUEL TANK (GSX-R1000RL7 E33)
FUEL TANK (GSX-R1000RZL7 E03)
FUEL TANK (GSX-R1000RZL7 E28)
FUEL TANK (GSX-R1000RZL7 E33)
FUEL TANK FRONT COVER (GSX-R1000RL7 E03)
FUEL TANK FRONT COVER (GSX-R1000RL7 E28)
FUEL TANK FRONT COVER (GSX-R1000RL7 E33)
FUEL TANK FRONT COVER (GSX-R1000RZL7 E03)
FUEL TANK FRONT COVER (GSX-R1000RZL7 E28)
FUEL TANK FRONT COVER (GSX-R1000RZL7 E33)
GASKET SET
GEAR SHIFTING
GENERATOR
HANDLE LEVER
HANDLE SWITCH
HANDLEBAR
HEADLAMP
HYDRAULIC UNIT
LABEL (GSX-R1000RL7 E03)
LABEL (GSX-R1000RL7 E28)
LABEL (GSX-R1000RL7 E33)
LABEL (GSX-R1000RZL7 E03)
LABEL (GSX-R1000RZL7 E28)
LABEL (GSX-R1000RZL7 E33)
LOCK SET
MUFFLER
OIL COOLER
OIL PAN/OIL PUMP
OPTIONAL
OPTIONAL (SEAT TAIL BOX)
RADIATOR
RADIATOR HOSE
REAR CALIPER
REAR COMBINATION LAMP
REAR CUSHION LEVER (GSX-R1000RL7 E03)
REAR CUSHION LEVER (GSX-R1000RL7 E28)
REAR CUSHION LEVER (GSX-R1000RL7 E33)
REAR CUSHION LEVER (GSX-R1000RZL7 E03)
REAR CUSHION LEVER (GSX-R1000RZL7 E28)
REAR CUSHION LEVER (GSX-R1000RZL7 E33)
REAR FENDER
REAR MASTER CYLINDER
REAR SWINGINGARM
REAR WHEEL (GSX-R1000RL7 E03)
REAR WHEEL (GSX-R1000RL7 E28)
REAR WHEEL (GSX-R1000RL7 E33)
REAR WHEEL (GSX-R1000RZL7 E03)
REAR WHEEL (GSX-R1000RZL7 E28)
REAR WHEEL (GSX-R1000RZL7 E33)
SEAT
SIDE COWLING (GSX-R1000RL7 E03)
SIDE COWLING (GSX-R1000RL7 E28)
SIDE COWLING (GSX-R1000RL7 E33)
SIDE COWLING (GSX-R1000RZL7 E03)
SIDE COWLING (GSX-R1000RZL7 E28)
SIDE COWLING (GSX-R1000RZL7 E33)
SIDE LOWER COVER (GSX-R1000RL7 E03)
SIDE LOWER COVER (GSX-R1000RL7 E28)
SIDE LOWER COVER (GSX-R1000RL7 E33)
SIDE LOWER COVER (GSX-R1000RZL7 E03)
SIDE LOWER COVER (GSX-R1000RZL7 E28)
SIDE LOWER COVER (GSX-R1000RZL7 E33)
SPEEDOMETER (GSX-R1000RL7 E03)
SPEEDOMETER (GSX-R1000RL7 E28)
SPEEDOMETER (GSX-R1000RL7 E33)
SPEEDOMETER (GSX-R1000RZL7 E03)
SPEEDOMETER (GSX-R1000RZL7 E28)
SPEEDOMETER (GSX-R1000RZL7 E33)
STAND
STARTER CLUTCH
STARTING MOTOR
STEERING STEM (GSX-R1000RL7 E03)
STEERING STEM (GSX-R1000RL7 E28)
STEERING STEM (GSX-R1000RL7 E33)
STEERING STEM (GSX-R1000RZL7 E03)
STEERING STEM (GSX-R1000RZL7 E28)
STEERING STEM (GSX-R1000RZL7 E33)
THROTTLE BODY (GSX-R1000RL7 E03)
THROTTLE BODY (GSX-R1000RL7 E28)
THROTTLE BODY (GSX-R1000RL7 E33)
THROTTLE BODY (GSX-R1000RZL7 E03)
THROTTLE BODY (GSX-R1000RZL7 E28)
THROTTLE BODY (GSX-R1000RZL7 E33)
TRANSMISSION
TURNSIGNAL LAMP
UNDER COWLING (GSX-R1000RL7 E03)
UNDER COWLING (GSX-R1000RL7 E28)
UNDER COWLING (GSX-R1000RL7 E33)
UNDER COWLING (GSX-R1000RZL7 E03)
UNDER COWLING (GSX-R1000RZL7 E28)
UNDER COWLING (GSX-R1000RZL7 E33)
WATER PUMP
WIRING HARNESS (GSX-R1000RL7 E03)
WIRING HARNESS (GSX-R1000RL7 E28)
WIRING HARNESS (GSX-R1000RL7 E33)
WIRING HARNESS (GSX-R1000RZL7 E03)
WIRING HARNESS (GSX-R1000RZL7 E28)
WIRING HARNESS (GSX-R1000RZL7 E33)
VIEW WISH LIST